Car Wiring Diagrams
Wiring Diagram Toyota Liteace
mitsubishi carisma wiring diagram pdf
mitsubishi canter tail light wiring diagram
mercedes w123 wiring diagram pdf
mitsubishi canter wiring diagram pdf
mitsubishi 4 pin alternator wiring diagram
mercedes benz w202 wiring diagrams
mitsubishi adventure alternator wiring diagram
mio soul i wiring diagram
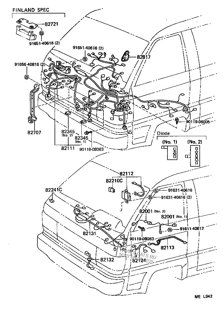
Toyota Townace Liteacekr41r Rbmrs Electrical Wiring Clamp
Rf 5484 Radio Wiring Diagram Toyota Townace Free Diagram
Wiring Clamp Toyota Liteace Van Wagon Nbsp 631540
Toyota Liteaceym35rv Mrs Electrical Wiring Clamp Japan Parts Eu
Toyota Townace Wiring Diagram Wiring Diagrams Resources
Wiring Clamp 7105 7909 Hrf Srf Toyota Liteace Km1 Asia
Toyota Townace Wiring Diagram Wiring Diagrams Resources
657746c Toyota Liteace Wiring Diagram Download Wiring Library
949 Toyota Townace Wiring Diagram Wiring Resources
Toyota Townace Wiring Diagram Wiring Diagrams Resources
0064
2006 Toyota Hiace Electrical Wiring Diagrams Pdf Electrical
0c4 Toyota Liteace Wiring Diagram Download Wiring Resources
Toyota Townace Fuse Box Wiring Library
Toyota Liteace Van Wagonkm36lv Mrsbfew Tool Engine Fuel
Toyota Corolla Wiring Diagram Electrical Electricity Site
Rf 1017 Radio Wiring Diagram Toyota Townace
Meter For Toyota Townace Liteace Kr42r Sbmre W Tachometer Illust
Hiace Wiring Diagram Pdf Toyota Hiace
Toyota Townace Wiring Diagram Wiring Diagrams Resources
Source :
pinterest.com
Random Posts
2004 Rx8 Radio Wiring Diagram
2004 Silverado Ignition Switch Wiring Diagram
2004 Honda Shadow 750 Wiring Diagram
2004 Jeep Grand Cherokee Fog Light Wiring Harness
2004 Honda Vtx 1300 Wiring Diagram
2004 Kia Sorento Radio Wiring Diagram
2004 Hyundai Tiburon Radio Wiring Diagram
2004 Silverado Trailer Plug Wiring Diagram
2004 Subaru Wrx Ignition Wiring Diagram
2004 Jeep Grand Cherokee Speaker Wiring Diagram
2004 Sienna Jbl Wiring Diagram
2004 Honda Pilot Wiring Diagram
2004 Honda Rebel 250 Wiring Diagram
2004 Subaru Impreza Stereo Wiring Diagram
2004 Mitsubishi Galant Wiring Diagram
2004 Toyota Corolla Radio Wiring Diagram
2004 Jeep Grand Cherokee O2 Sensor Wiring Diagram
2004 Subaru Forester Trailer Wiring
2004 Jeep Grand Cherokee Power Seat Wiring Diagram
2004 Subaru Forester Window Wiring Diagram